Bizi Takip Edin

Düşey Milli Kademeli Yangın Hidroforlar

Sumak

Tanımı

Paslanmaz gövdeli, düşey milli, ışıklı ve sesli alarmlı, haftalık test programlı, TSE standartlarına uygun tek pompalı yangın hidroforlarıdır. Yangın söndürme sistemlerinde su basınçlandırmak için tasarlanmıştır.

Kullanım Alanları

Yüksek yangın riskine sahip yerleşim birimlerinde, endüstriyel tesislerde, otellerde, hastanelerde, iş ve alışveriş merkezlerinde, fabrikalarda, toplu konutlarda, depolarda, gemilerde, okullarda ve sosyal hizmet binalarında, kimyevi ve tehlikeli madde işleyen tesislerde, otomatik sprinklerde, bina içi yangın dolaplarında ve bina dışı hidrantlarda sulu yangın söndürme sistemlerinde kullanılmaktadır.

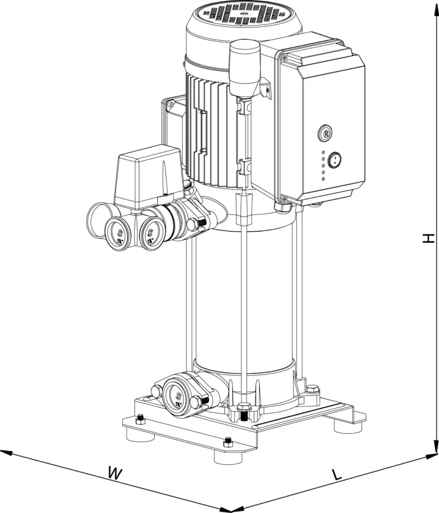
Pompa Gövdesi AISI 304 INOX
Çark NORYL
Mil AISI 420
Sıvı Basma Sıcaklığı 0-45°C 
Koruma Sınıfı IP 54
İzolasyon CI.F
Mekanik Salmastra SERAMİK/KARBON

 

 Pompa Teknik Özellikleri

MOTOR POMPA
TİP KW V Hz d/d W
L
H
GİRİŞ ÇIKIŞ 60 mss 80 mss
SHT 12 A 400/7 EY 1×3 380 50 2900 350 290 585 1x7m³ 1x5m³
SHT 16 A 550/5 EY 1×4 380 50 2900 370 330 660 1x12m³ 1x7m³
SHT 16 A 750/7 EY 1×5,5 380 50 2900 370 330 700 1x16m³ 1x12m³
SHT 24 A 1000/7 EY 1×7,5 380 50 2900 817 670 1145 2″ 2″ 1x20m³ 1x16m³
SHT 34 A 1500/6 EY 1×11 380 50 2900 817 670 1105 2″ 2″ 1x32m³ 2x24m³

Diğer Ürünler

Bursa Motor Logo

+90 224 443 46 36

© 2025 Bursa Motor | Her Hakkı Saklıdır.